- 质量稳定:实行全过程质量监控,细致入微,全方位检测!
- 价格合理:高效内部成本控制,减少了开支,让利于客户!
- 交货快捷:先进生产流水线,充足的备货,缩短了交货期!
- 销售:022-85190966-1
- 传真:022-24919002
- 技术:022-85190966-5
产品概述:
J11Y、J61Y、J41Y锻钢自密封截止阀有三种阀盖设计,第一种是螺栓型阀盖,通过凹凸面连接,采用不锈钢带与柔性石墨缠绕垫片,按需求也可采用环连接,第二种是焊接型阀盖,通过螺纹密封后焊接,按需求也可直接采用刚性焊接,第三种是自密封阀盖,通过螺纹与自密封阀盖连接。
结构设计和规范:
锻钢截止阀制造按API 602,BS5352,ANSI/ASME B16.34. 试验与验收按API 598,标识按照MSS SP-25.
结构型式:
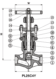
1、全通径或缩径; 2、明杆带支架; 3、两端自动调心的填料压套; 4、用缠绕式垫片密封的螺栓型阀盖、螺纹密封焊接型阀盖,或自密封阀盖 5、本体倒密封; 6、承插焊接ANSI/ASME B16.11; 7、螺纹端(NPT端)按ANSI/ASME B1.20.1。
标准材质细表:

|
序号 |
零件名称 |
CStoASTM |
AStoASTM |
SStoASTM |
|
|
A105 |
A182 F22 |
A182 F304 |
A182 F316(L) |
||
|
1 |
阀体 |
A105 |
A182 F22 |
A182 F304(L) |
A182 F316(L) |
|
2 |
阀瓣 |
A276 420 |
A276 304 |
A276 304(L) |
A276 F316(L) |
|
3 |
阀杆 |
A182 F6 |
A182 F304 |
A182 F304(L) |
A182 F316(L) |
|
4 |
密封圈 |
A182 F304L |
A182 F316L |
||
|
5 |
密封螺母 |
A105 |
A182 F304 |
A182 F304(L) |
A182 F316L |
|
6 |
阀盖 |
A105 |
A182 F22 |
A182 F304(L) |
A182 F316(L) |
|
7 |
销钉 |
A276420 |
A182F304 |
||
|
8 |
垫圈 |
A105 |
A182 F22 |
A182 F304(L) |
A182 F316(L) |
|
9 |
提升螺母 |
A19 2H |
A194 4 |
A194 8 |
A194 8M |
|
10 |
填料 |
柔性石墨 |
PTFE |
||
|
11 |
填料压套 |
A276 420 |
A182 F304 |
||
|
12 |
活节螺栓 |
A193 B7 |
A193 B16 |
A193 B8 |
A193 B8M |
|
13 |
填料压板 |
A216WCB |
A351CF8 |
||
|
14 |
螺母 |
A194 2H |
A194 4 |
A194 8 |
A194 8M |
|
15 |
阀杆螺母 |
A276 410 |
|||
|
16 |
手轮 |
A197 |
|||
|
17 |
锁紧螺母 |
A194 2H |
A194 4 |
A194 8 |
A194 8M |
|
18 |
油嘴 |
铜 |
|||
|
19
|
适用介质 |
水、蒸汽、油品等 |
水、蒸汽、油品等 |
硝酸、醋酸等 |
|
|
20
|
适用温度 |
?29℃~425℃ |
?29℃~550℃ |
?29℃~200℃ |
|
主要连接尺寸及重量:
|
NPS |
1/2" |
3/4" |
1" |
11/4" |
11/2" |
2" |
|
|
L |
900Lb-1500Lb |
140 |
140 |
140 |
178 |
178 |
216 |
|
2500Lb |
186 |
186 |
186 |
232 |
232 |
279 |
|
|
H(开) |
333 |
333 |
333 |
408 |
408 |
524 |
|
|
W |
160 |
160 |
180 |
200 |
250 |
280 |
|
|
重量 |
900LB-1500LB |
11.2 |
10.5 |
10.1 |
21.0 |
19.6 |
40.4 |
|
2500LB |
12.3 |
11.6 |
10.8 |
28.0 |
26.4 |
43.8 |
|










