- 质量稳定:实行全过程质量监控,细致入微,全方位检测!
- 价格合理:高效内部成本控制,减少了开支,让利于客户!
- 交货快捷:先进生产流水线,充足的备货,缩短了交货期!
- 销售:022-85190966-1
- 传真:022-24919002
- 技术:022-85190966-5
搪玻璃放料阀产品概述:
搪玻璃放料阀分为上展式和下展式带有搪玻璃设备是喊高硅量的玻璃质釉。通过900℃左右高温涂于金属胎而成。它具有良好的机械性能和耐腐蚀性能,能防止介质与金属离子取代作用而影响污染制品,并且表面光洁、耐磨、有一定的热稳定性。适用于设计压力P≤0.6Mpa,工作温度t≤150℃的搪玻璃下展式放料阀。该阀技术条件应符合HG5-16-79的规定。此阀除磷及磷轻介质、氢氟碳、盐酸、氢氧化钠、氢氧化钾外,能耐各种酸、碱、盐溶液及有机溶液。在化工、石油、冶金、制药、农药、染料、食品加工等行业广泛使用。
上展式搪玻璃放料阀具体参数:
1、耐腐蚀性能耐一般无机酸、有机酸弱碱液(P≤60℃ PH≤12)以及有机剂介质。在盐酸、硝酸、水等强腐蚀性介质中优于不锈钢。严禁使用含氟离子液体(如HF等)也不能用强碱及磷酸(温度>150℃浓度>30%)。
2、耐热性,允许在-30℃至+240℃间使用(耐温急变小于120℃)。
3、HG5-16-79搪玻璃放料阀具有光滑的表面。不易粘结物料、易清洗。
4、绝缘性:玻璃料有良好的绝缘性,厚1mm的玻璃在2000伏的高压下不会被击穿而导电。
5、耐冲击性:耐冲击性能较小为2500克/厘米,因而使用时应避免硬物冲击。
6、耐压:0.6Mpa
上展式搪玻璃放料阀维护保养和安装使用注意事项:
1、在装修时凡与瓷面接触的地方必须用石棉或四氟片等软垫。使用工具不能与瓷面冲击或摩擦,更不能用金属工具铲打。
2、在紧固螺丝时四周以等力上紧,防止瓷面受力不匀而裂瓷。放料阀丝杆要经常保持润滑、防止生锈。
3、流经介质只能是液态,不得有硬颗粒混入液体内,防止瓷面起毛或堵塞,以及开启失灵等等。
4、在安装时应注意各部的螺丝受力是否平衡、升降(活动)是否灵活。
5、在搪瓷面的各部密封件应保持中心位置。压力均匀,以防泄漏。
6、使用时如发现有漏,应立即检查密封装置是否确当、不能用铁棍、杆把手轮硬扳紧,以免损坏零件。
7、出料当受阻塞时,可以使用金属杆或硬性工具疏通,不得使用金属杆或硬性工具。
8、应尽量避免酸碱介质交替使用(除中和反应介质),以免缩短寿命。
9、根据介质性能及使用期,应经常检查阀体颈部四氟密封圈和孔板部的四氟薄片。如发现有损坏应及时更换再使用。
10、若发现瓷面有损坏时应立即停用。可用专门涂料修补患处,或委托有关生产单位重新现做搪瓷。
上展式搪玻璃放料阀适用范围:
|
产品名称 |
规格 |
使用范围 |
50~100L反锅 |
|
搪玻璃放料阀 |
DN70/32 |
50~100L反锅 |
200L |
|
DN80/40 |
200~500L反锅 |
300~500L |
|
|
DN100/50 |
1000~2000L反锅 |
1000~2000L |
|
|
DN125/80 |
3000L反锅 |
3000L |
|
|
DN150/100 |
5000L以上的反锅 |
500-300L贮罐 |
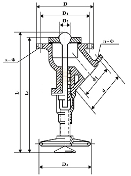
上展式搪玻璃放料阀产品结构图及连接尺寸表:mm

|
配反应罐 |
规格 |
D |
D1 |
D2 |
D3 |
z-φ |
d |
d1 |
n-φ |
L |
L1 |
|
50-100L |
70/32 |
160 |
130 |
32 |
160 |
4-14 |
120 |
90 |
4-14 |
350 |
325 |
|
200-500L |
80/40 |
185 |
150 |
42 |
160 |
4-18 |
130 |
100 |
4-14 |
360 |
330 |
|
1000-2000L |
100/50 |
205 |
170 |
50 |
180 |
4-18 |
140 |
110 |
4-16 |
395 |
360 |
|
1000-2000L |
100/50 |
210 |
185 |
50 |
180 |
6-14 |
140 |
110 |
4-16 |
395 |
360 |
|
1000-2000L |
100/50 |
210 |
190 |
50 |
180 |
8-14 |
140 |
110 |
4-16 |
395 |
360 |
|
3000L |
125/80 |
235 |
200 |
65 |
200 |
8-18 |
185 |
150 |
4-18 |
450 |
400 |
|
3000L |
125/80 |
235 |
210 |
65 |
200 |
10-14 |
185 |
150 |
4-18 |
450 |
400 |
|
5000L |
150/100 |
260 |
225 |
85 |
200 |
8-18 |
205 |
170 |
4-18 |
485 |
420 |


