- 质量稳定:实行全过程质量监控,细致入微,全方位检测!
- 价格合理:高效内部成本控制,减少了开支,让利于客户!
- 交货快捷:先进生产流水线,充足的备货,缩短了交货期!
- 销售:022-85190966-1
- 传真:022-24919002
- 技术:022-85190966-5
产品概述:
一、主要结构形式:
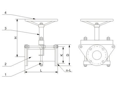
GJ41X手动奥衬管夹阀由阀体、橡胶套管、阀杆、上下压板、拉杆、气动头等零件组成。
二、工作原理:
当顺针时转动手轮时,使大小阀杆同时转动来带动上下压板以压缩橡胶管套从而进行关闭,反之即行开启。这样压板在拉杆之间上下往复运动来完成阀门开闭工作。
三、注意事项 因橡胶管套承压力小,所以在开闭时,操作人员旋转手轮时只要感到适量抵触,均达到开闭极点。切勿尽力及多人辅助,禁用其他开具开闭。
四、安装及维护:
(1)、本阀门在管道上任意安装,没有介质流向限制。
(2)、本阀门维护成本低,没有需要定期更换的阀座、密封填料、密封圈或伸缩管。胶管是管夹阀唯一需要更换的零件,一旦更换了胶管,阀门就像新阀门一样,本阀门很少需要其他零件库存。
主要性能规范:
|
适用温度 |
适用介质 |
|
≤85℃ |
矿浆、磨料、干湿型粉尘类 |
主要零件材料:
|
名称 |
材料 |
|
阀体 |
碳钢 |
|
套管 |
橡胶 |
|
阀杆 |
铸铜、碳钢 |
|
压杆 |
铸铁 |
|
手轮 |
铸铁 |
|
托架 |
球墨铸铁、灰铸铁 |
以上零部件材料供参考,可任意更换符合即时工况需求的材料。
产品结构图及连接尺寸表:

|
口径 |
L |
H |
D |
K |
n-L |
|
DN50 |
210 |
215 |
160 |
125 |
4-18 |
|
DN65 |
250 |
245 |
180 |
145 |
4-18 |
|
DN80 |
300 |
270 |
195 |
160 |
4-18 |
|
DN100 |
350 |
300 |
215 |
180 |
8-18 |
|
DN125 |
430 |
340 |
245 |
210 |
8-18 |
|
DN150 |
500 |
390 |
280 |
240 |
8-23 |
|
DN200 |
650 |
520 |
335 |
295 |
12-23 |
|
DN250 |
800 |
615 |
390 |
350 |
12-23 |
|
DN300 |
950 |
720 |
440 |
400 |
12-23 |
|
DN350 |
830 |
800 |
500 |
460 |
16-23 |
|
DN400 |
900 |
900 |
565 |
575 |
16-25 |
|
DN500 |
1100 |
1150 |
670 |
620 |
20-25 |
声明:本文中所有文字、数据、图片考虑到生产工况条件不同,难免会产生偏差、不恰当或是有不充分的描述,故均适用于参考,如果您对本文中所提供的GJ41X手动奥衬管夹阀产品内容有任何疑问,请您联系我们,我们将竭诚为您服务!




